黄瓜条快速切割器

来源 : 2009 年 04 期 

黄瓜条快速切割器

作者: 苏航长沙市天心区沙湖桥小学

发明小故事:

晒干了的黄瓜条风味独特,很多人都爱吃,但我看到菜市场的叔叔阿姨加工黄瓜条时工序非常繁琐,很费时间,于是我就想,能不能发明一种能快速切黄瓜条的工具呢?我把这个想法告诉了科技辅导老师,在老师的启发和自己的努力下,我制作出了黄瓜条快速切割器。做好后,我拿给做黄瓜条的摊主使用,他们都觉得使用黄瓜条快速切割器能大大提高工作效率。

使用方法:

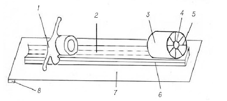
使用时,将底座(7)利用扣条(8)固定在物体表面,将黄瓜放入滑槽(2)中,用手推动推板(1)在导轨(6)的定位下沿滑槽(2)朝大套筒(3)前进,在刀片(5)和小套筒(4)的切割下,将黄瓜切割成若干条。其中刀片(5)将瓜肉切割,小套筒(4)将瓜肉与瓜瓤分离。

辅导老师点评:

作品结构简单,非常实用,解决了切黄瓜条麻烦这一难题;推广价值高。

▲苏航同学和他的黄瓜条快速切割器

该作品所获荣誉:

第二十二届全国青少年科技创新大赛银奖

第二十二届全国青少年科技创新大赛牛顿专项实验奖

第十七届全国发明展览会金奖

2007年中央电视台10套“走近科学——我爱发明”栏目作为国庆特别节目进行了报道,并被评为优秀项目

2008年第六届宋庆龄少年儿童发明奖金奖

专利申请号:200720063220.4

(辅导老师:肖宗文)

同期文章

    关键词相关

      作者相关