移植发明法

来源 : 2008 年 04 期 

移植发明法

作者: 奥秘精灵

在发明创造中,将某个领域内的原理、技术、方法、材料和结构引用到另一个领域内进行研究的方法,就是移植法。移植法有两条途径:一条是将原理、方法应用于具体事物;另一条是为解决正在研究的问题,寻求可以移植的原理、方法。

移植法是最常用的几种创新方法之一,是一种简便有效的方法。人们如果使用它进行创新发明,关键是要扩大知识面,不断用新的知识来武装自己。使用移植法,能使你思路豁然开朗,一下子就能找到解决关键问题的办法。

发明故事“会讲话的垃圾箱”

在荷兰某些城市,有不少人不习惯使用垃圾箱,致使垃圾遍地。卫生部门曾对乱丢垃圾的人处以罚款,但收效甚微。卫生部门在一次调查中偶然发现,人们更喜欢光临那些门口安装了电子感应器的商铺,不少小孩子甚至在商铺的门前来回穿梭,只为了多听几次“欢迎光临”。卫生部门受到启发,设计了电动垃圾箱。这种垃圾箱上也装有一个感应器,每当垃圾丢进箱里,感应器就会自动启动录音机,播出一则故事或笑话,内容半个月更换一次。这种垃圾箱很受欢迎,几乎所有人,不论距离远近都愿意把垃圾丢进箱里。

在比利时首都布鲁塞尔的一座公园里,装有一种惹人喜欢的胖木偶模样的垃圾箱,当游人把垃圾丢入木偶张开的嘴里时,木偶即会道声“谢谢”,表示对爱清洁者的敬意。

发明实例“快速驱蚊器”

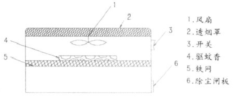
夏天最讨厌的莫过于蚊子了,而最常见最普遍的驱蚊方法是燃烧蚊香,在袅袅烟雾中空气混浊,开窗吧,蚊子仍会肆虐;不开窗吧,免不了心闷烦躁。如一不小心,踢翻了蚊香,灰尘洒落一地,你就又得搞卫生了。何志伟同学发明了一种快速驱蚊器,解决了上述烦恼:在驱蚊器的上部是透烟罩,罩内带有一个小电风扇,附设开关;中间是用于架设蚊香燃烧的铁网;下部是贮尘盒,旁开一排灰口,附设除尘闸板。这样,不仅在需要时可以利用电风扇加快驱蚊速度,又可以方便地清理蚊香灰烬,既实用又便利。

▲快速驱蚊器结构示意图

点评

蚊子给人们的日常生活带来了很多烦扰,特别是它传播疾病这一点,对人的健康造成很大的危害。在这个小发明中,何志伟同学把电风扇可以加快空气流通的原理移植到了驱蚊器上,改进了现有驱蚊器的驱蚊速度,而且也使得驱蚊器的使用更为方便。

思考题

现在市面上灭蚊工具越来越多,如喷雾剂、电蚊片、驱蚊液等,你有考虑过它们的缺点吗?能否用移植法使其在现有基础上更好地发挥效能。

同期文章

    关键词相关

      作者相关