来源 : 2005 年 07 期
生活废水再利用装置
作者: 徐萌 黑龙江省哈尔滨市第三中学
黑龙江省哈尔滨市第三中学
通过观察发现,生活中排出的废水中,有很大一部分如漂洗衣物、洗手、洗菜过程中产生的废水并未受到很重的污染,而且有大量的清洁水伴随着废水被排出,白白浪费掉了。因此,完全可以用一个装置将这些水集中起来,用于冲厕所、洗拖把等。
厨房的水盆和卫生间马桶的冲水箱在不同的高度上,如果利用水盆和冲水箱之间的空间和高度差,安装一个装置,这个装置既能收集水盆排出的废水,又能利用高度差给冲水箱充水,以达到水的二次利用的目的。这就是设计生活废水再利用装置的基本思路。
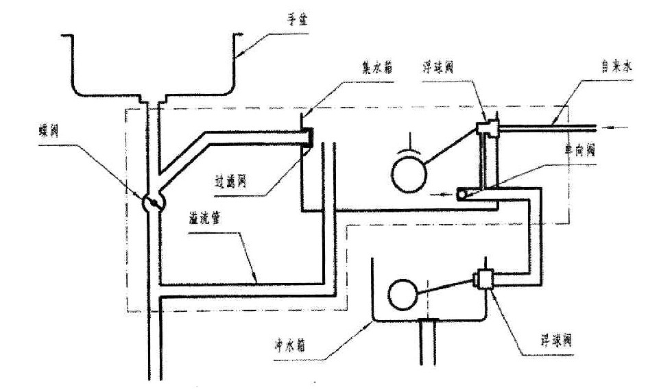
该装置的工作原理如图所示。关闭蝶阀,洗手盆中用过的废水,经过V形管进入集水箱。水箱中的水位提高,推动球阀关闭自来水的供应,此时,只能由集水箱中的废水向马桶供水。一旦水盆中断废水供应,而且集水箱中废水已用光,浮球阀就会下落,导通自来水,向马桶水箱供水。而此时由于止回阀的阻断,自来水不能进入集水箱,使集水箱仍保持空的状态。当洗手盆恢复供水时,浮球阀再次被推动,关闭自来水,由集水箱向马桶供水。
这个装置巧妙地利用浮球阀实现有限选择使用废水的目的。从实验结果看,在水盆和马桶所限定的空间中,装置可以正常工作,而且能够满足一般家庭的使用要求。如果能够适当提高水盆和集水箱的位置,装置向水箱供水的效果将会更好。
这个装置结构简单,设计合理,投资成本低,适于推广使用。
(辅导教师 韩仰忠)