防风、节能烛光灯

来源 : 1998 年 02 期 

防风、节能烛光灯

作者: 周成林

停电时,人们通常用烛光照明。点燃的蜡烛在风的作用下,一方面容易被吹灭,另一方面燃烧的速度明显加快,还会出现“流泪”的现象,蜡烛头也不便燃尽,造成浪费。这里介绍一种防风节能烛光灯的制作,它不仅可以防风,还可以克服“流泪”的毛病,提高蜡烛的利用率。

材料:木板、铁丝、螺钉、矿泉水瓶、易拉罐。

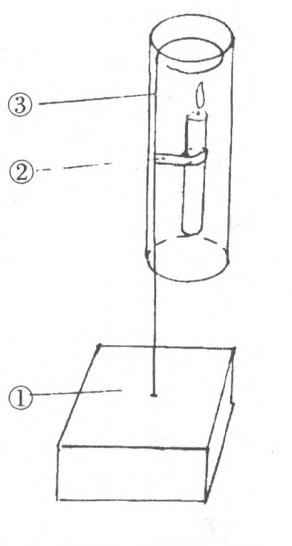
制作:1.用铁丝的一头卷成一个略小于矿泉水瓶的小圈,然后固定在木板底座上,如图①。

2.将易拉罐剪一块约一厘米宽的铝片,把铝片卷成蜡烛大小的小圈,两头分别钻上小孔,制成活动套,用螺钉把活动圈装在铁丝杆上,如图②。

3.把矿泉水瓶两头去掉,底部适当保留一小部分,做成防风罩,从上往下套在以铁丝为支柱的蜡烛上。如图③。

使用:用活动套将蜡烛固定,然后盖上防风罩,根据蜡烛燃烧的情况,调节活动套,直到燃尽再换新蜡烛。

同期文章

    关键词相关

      作者相关